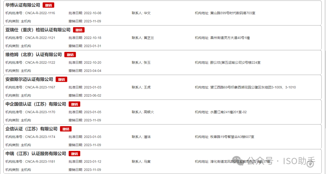
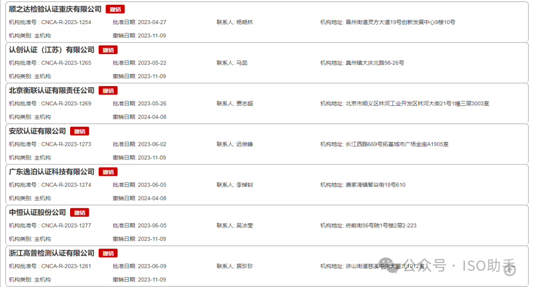
据认监委官网公开资料显示,目前已有100家认证机构批准资质被撤销。详见下图:
如何选择靠谱的认证机构 一、看认证资质——认证机构的合法性 在中国,只有被国家认监委(CNCA)批准的认证机构才能开展管理体系认证业务,才是合法认证机构,但即使具有资质,还得注意其资质是否为有效状态,同时还得具体看其被批准的认证类别及认证领域的范围,就像营业执照一样,会规定有哪些认证可以做。这些信息都可以在国家认监委(CNCA)网站上公开查询到,同时还要关注认证机构是否有违法/被处罚信息,或自身经营状况如何(可查工商信息),否则还是会出现问题。 认证机构资质查询方法: 中国国家认证认可监督管理委员会(CNCA)网站,查询网址: http://cx.cnca.cn/CertECloud/index/index/page 获中国合格评定国家认可委员会(CNAS)认可的机构,查询网址: https://www.cnas.org.cn 二、看认证机构的品牌、技术实力、专业能力 拥有强大品牌影响力的认证机构,往往其专业人员(审核员)配备齐全、技术实力/专业能力强大,服务网络完善(不是在各地简单设个办公室),这对企业来讲非常有利。 选择有一定实力的品牌认证机构,其认证证书公信力强,可带来正面的宣传效果,同时可降低企业进行认证所带来的风险与损失,这也是大企业选择知名的品牌认证机构的原因。现在一些重点项目招标已经要求必须是知名认证机构出具的认证证书才被认可,所以选择知名品牌认证机构进行认证的作用不言而喻。 三、看认证费用 要相信一分钱一分货,选择认证机构,不能谁价格低就选谁,低价格的认证会严重影响认证的有效性和公信力,国家相关部门对管理体系认证规定有基础价格,就像市场上的其他商品一样,品牌、信誉、质量、服务才是最重要的。 四、认证证书要公开可查 由合法认证机构出具的认证证书都能在国家认监网站上公开查询到且证书为有效状态(带CNAS标识的可在CNAS网站上查询且显示为有效状态),如果查询不到或显示处于暂停/失效/撤销状态等相关的认证信息,其证书就是无效的。 若显示颁发证书的认证机构被处罚或撤销(严重违规,如出具虚假认证结论等),表明该证书已无任何公信力,被认证的单位应尽快寻求新的合法且权威的认证机构重新认证,将经济损失降至最低,以求尽快恢复商誉! 官方查询渠道:中国国家认证认可监督管理委员会(CNCA)认证证书查 询网址: http://cx.cnca.cn/CertECloud/index/index/page 中国合格评定国家认可委员会(CNAS)认可的认证证书查询网址: https://www.cnas.org.cn/ 总结 以上就是我们整理的关于企业怎么选择靠谱的认证机构的资料,相信你已经对如何选择合适的认证机构有了一些常识。 总结重点:选择认证机构,不能谁价格低就选谁,低价格的认证会严重影响认证的有效性和公信力。 需要认证企业切记:不要让自己成了为认证机构的错误买单的人!



0551-63416332